开云app-被偷家了!广州一小区,一夜间被500多家公司冒名注册!

adminadmin 体育IOS 2026-01-06 175 0

天塌了,一觉醒来,被偷家了?!

最近,广州某小区业主发现,一夜之间,自己家竟成了一批陌生公司的注册地!

真是新年第一惊吓,很多业主仍心有余悸,怎么回事?

开云app-被偷家了!广州一小区,一夜间被500多家公司冒名注册!

500多家陌生企业!

半个小区成“幽灵注册地”

前几天,花都合景保利香樾四季花园的业主偶然一查,手都抖了——

自家住址,不知何时成了一堆陌生企业的注册地!

开云app-被偷家了!广州一小区,一夜间被500多家公司冒名注册!

合景保利香樾四季花园

而且整栋楼好多邻居都“中招”!

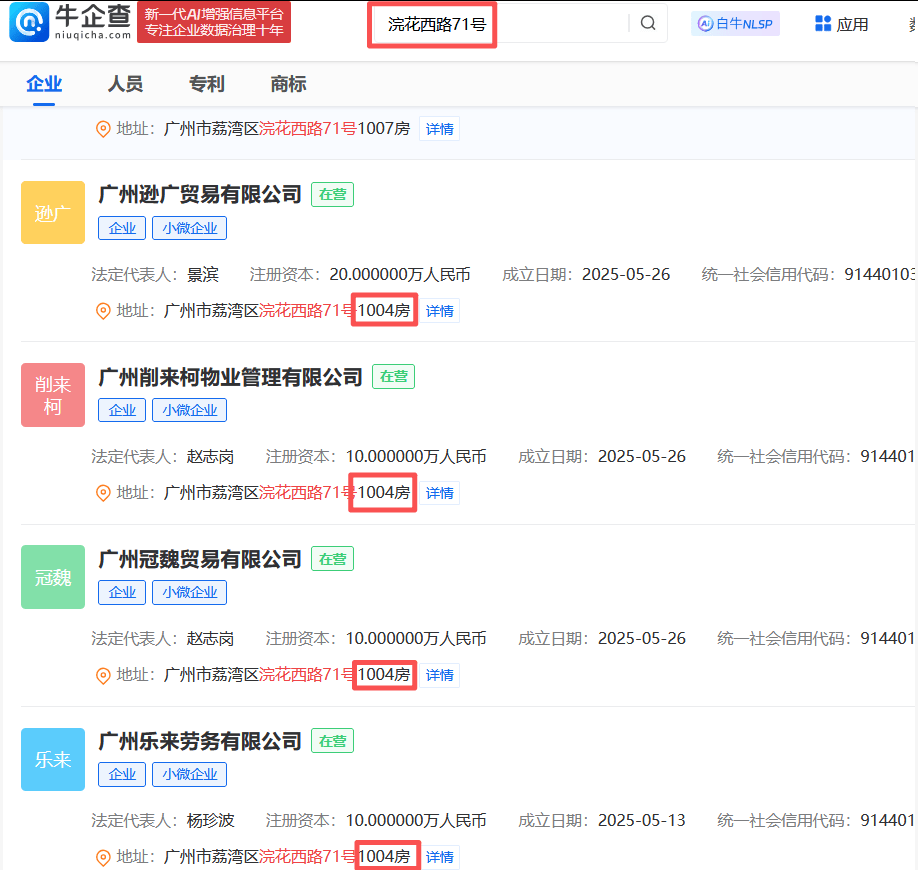
我搜索企查查发现,以小区地址(花城街道盛杨二街)为注册地的公司,竟高达513个!

展开全文

整个楼盘也就1200多户,相当于差不多半个小区都成了“幽灵注册地”!

仔细一看,这些公司全是注册资本在1-5万元的小微企业,注册时间集中在去年12月中下旬。

业务五花八门,科技、家政服务、个人独资的百货店……全部都是存续/在业状态。

开云app-被偷家了!广州一小区,一夜间被500多家公司冒名注册!

截图:企查查

业主表示,“这些企业听都没听过,根本没经过我们的同意或授权!”

小区2023-2024年交楼,很多业主才入住一两年,就发生这样的糟心事——

自己花费百万买的房子,一夜之间成了别人的“商业壳”,这谁能忍?

开云app-被偷家了!广州一小区,一夜间被500多家公司冒名注册!

更让业主担心的是——

万一这些公司搞诈骗、洗钱、欠债不还,警察会不会找上门来?自己会不会被牵连调查?

公司税务异常,会不会影响征信贷款?

想想就后背发凉!目前,已经有业主在12345发起投诉。

开云app-被偷家了!广州一小区,一夜间被500多家公司冒名注册!

政策宽松,有人钻空子!

其实事情发生后,大家第一反应都是:

“注册公司不要房产证吗?怎么就能随便用我家地址?”

一查资料才发现,2022年,广州曾发布一份《关于优化市场准入环境全面提升开办企业一体化便利服务的意见》,里面提到——

申请人只需在线填写一份《住所(经营场所)信息申报表》,承诺对其真实性、合法性负责,无需再提交房产证、租赁合同等传统的纸质证明文件。

开云app-被偷家了!广州一小区,一夜间被500多家公司冒名注册!

来源:广州市人民政府办公厅文件

2024年,又继续出台相关公告,允许多个商事主体将同一地址登记、备案为住所或经营场所,进一步放宽经营条件。

开云app-被偷家了!广州一小区,一夜间被500多家公司冒名注册!

这样的“自主申报”政策,本意是降低创业门槛,优化营商环境嘛。

但政策一宽松,就会有人钻空子!

因为消除了很多注册的前置条件,一些代理机构趁机批量注册,把大量“空壳公司”挂到真实住宅地址上,一次性注册上千家。

业主还在蒙头大睡,自家地址已经在工商系统里“开起了公司”。

而且我还发现,不止花都,增城、白云、荔湾也有小区出现过类似问题。

荔湾区剑兰大厦,一栋楼就有近20家企业注册,有一户地址更是被五六家企业霸占!

开云app-被偷家了!广州一小区,一夜间被500多家公司冒名注册!

截图:企查查

甚至村宅也没逃过。

开云app-被偷家了!广州一小区,一夜间被500多家公司冒名注册!

有村民称——

“我家的房子至少被注册为5家不同的企业,坐标农村,当时已经在12345投诉了。市监局回复说已将这些“企业”列入异常经常企业,但现在信息照样能查到,根本没有解决。”

开云app-被偷家了!广州一小区,一夜间被500多家公司冒名注册!

“被开业”了,到底有多大风险?

这可不是小事。

如果地址被冒用注册公司,业主可能会面临以下麻烦——

其一,如果这些公司从事诈骗、洗钱等非法活动,执法人员很可能按地址找上门;

其二,公司如果欠债破产,债权人也可能通过注册地址追讨;

开云app-被偷家了!广州一小区,一夜间被500多家公司冒名注册!

其三,公司税务异常可能影响该地址的信用记录,未来贷款、过户都可能受阻;

虽然根据政策,搞虚假地址注册,被工商查到,行政处罚5万以上。

但对业主来说,要耗时耗力去投诉、自证清白,平白添堵,实在太糟心了!

目前,已经有部分区域政策收紧,都申报不了。

比如,白云区2025年12月23日起,全面取消地址自主申报办理营业执照。

房产君只想说,政策可以宽松,但监管不能放松。

如何避坑?

如果你担心自己家“被恶意注册公司”,或者已经中招,该怎么办?

第一步——先查询!

通过“天眼查”“企查查”等平台,输入自家地址,选择注册地址,看是否有陌生公司登记在册。

开云app-被偷家了!广州一小区,一夜间被500多家公司冒名注册!

如果“中招”,怎么维权?

首先在广州12315小程序可以投诉举报,市场监管→冒用信息等违法经营举报。

另外,还可以这样干——

带上房产证、身份证原件及复印件,到房屋所在地的市场监督管理所提交《撤销冒用登记申请》,要求将冒用公司列入“经营异常名录”;

一旦被列入异常,该公司产生的一切问题便与房主无关了,后续自有人主动来迁走地址。

开云app-被偷家了!广州一小区,一夜间被500多家公司冒名注册!

来源某书网友分享

如果你也住在广州,尤其是像白云、荔湾。增城、花都政策比较宽松区域,不妨动手查一查。

毕竟,谁也不想某天醒来,发现自己家已经“被开业”了。

开云app-被偷家了!广州一小区,一夜间被500多家公司冒名注册!

最后,你有啥想说的?你家有被冒用地址吗?评论区聊聊~

————房产君推荐————

【热议

【旧改

【震惊

喜欢0发布评论

评论列表

发表评论

  • 昵称(必填)
  • 邮箱
  • 网址